Verktøylinje
Forskrift om EU-gjødselvarer (EU-gjødselvareforskriften)
Trykk Escape for å lukke innholdsfortegnelse
- EU-gjødselvareforskriften
- § 1. Virkeområde
- § 2. Gjennomføring av forordning (EU) 2019/1009 om omsetning av EU-gjødselvarer
- § 3. Forordning som utfyller forordning (EU) 2019/1009
- § 4. Nasjonale bestemmelser om språk i merking og dokumentasjon
- § 5. Nasjonale bestemmelser om registrering av virksomheter
- § 6. Nasjonale bestemmelser om merking
- § 7. Nasjonale bestemmelser om lagring og bruk av EU-gjødselvarer av organisk opphav og visse uorganiske EU-gjødselvarer
- § 8. Utpeking av tekniske kontrollorgan
- § 9. Tilsyn og vedtak – bestemmelser gitt med hjemmel i brann- og eksplosjonsvernloven og lov om tekniske kontrollorgan
- § 10. Tilsyn og vedtak – bestemmelser gitt med hjemmel i matloven, forurensningsloven, jordloven, folkehelseloven og lov om tekniske kontrollorgan
- § 11. Straff
- § 12. Dispensasjon
- § 13. Klage
- § 14. Når forskriften trer i kraft
- § 15. Endringer i andre forskrifter
-
Forordninger
-
Konsolidert forordning (EU) 2019/1009 om omsetning av EU-gjødselvarer
-
Europaparlaments- og rådsforordning (EU) 2019/1009 5. juni 2019 om fastsettelse av regler for tilgjengeliggjøring på markedet av EU-gjødselvarer, om e...
- KAPITTEL I ALMINNELIGE BESTEMMELSER
- Artikkel 1 Virkeområde
- Artikkel 2 Definisjoner
- Artikkel 3 Fritt varebytte
- Artikkel 4 Produktkrav
- Artikkel 5 Tilgjengeliggjøring på markedet
- KAPITTEL II MARKEDSDELTAKERNES FORPLIKTELSER
- Artikkel 6 Produsentenes forpliktelser
- Artikkel 7 Representant
- Artikkel 8 Importørenes forpliktelser
- Artikkel 9 Distributørenes forpliktelser
- Artikkel 10 Tilfeller der produsentenes forpliktelser gjelder for importører og distributører
- Artikkel 11 Emballering og ompakking utført av importører og distributører
- Artikkel 12 Identifisering av markedsdeltakere
- KAPITTEL III EU-GJØDSELVARERS SAMSVAR MED KRAVENE
- Artikkel 13 Formodning om samsvar
- Artikkel 14 Felles spesifikasjoner
- Artikkel 15 Framgangsmåter for samsvarsvurdering
- Artikkel 16 EU-samsvarserklæring
- Artikkel 17 Allmenne prinsipper for CE-merking
- Artikkel 18 Regler og vilkår for påføring av CE-merkingen
- Artikkel 19 Når avfall opphører å være avfall
- KAPITTEL IV MELDING AV SAMSVARSVURDERINGSORGANER
- Artikkel 20 Melding
- Artikkel 21 Meldermyndigheter
- Artikkel 22 Krav til meldermyndigheter
- Artikkel 23 Meldermyndighetenes informasjonsplikt
- Artikkel 24 Krav til meldte organer
- Artikkel 25 Formodning om samsvar for meldte organer
- Artikkel 26 Meldte organers datterforetak og underleverandører
- Artikkel 27 Søknad om melding
- Artikkel 28 Framgangsmåte for melding
- Artikkel 29 Identifikasjonsnumre og lister over meldte organer
- Artikkel 30 Endring av meldinger
- Artikkel 31 Tvil om meldte organers kompetanse
- Artikkel 32 Meldte organers driftsmessige forpliktelser
- Artikkel 33 Klager på beslutninger truffet av meldte organer
- Artikkel 34 Meldte organers informasjonsplikt
- Artikkel 35 Utveksling av erfaring
- Artikkel 36 Koordinering av meldte organer
- KAPITTEL V TILSYN MED UNIONSMARKEDET, KONTROLL AV EU-GJØDSELVARER SOM INNFØRES PÅ UNIONSMARKEDET, OG UNIONSFRAMGANGSMÅTE VED BESLUTNINGER OM BESKYTTEL...
- Artikkel 37 Tilsyn med unionsmarkedet og kontroll av EU-gjødselvarer som innføres på unionsmarkedet
- Artikkel 38 Framgangsmåte på nasjonalt plan for å håndtere EU-gjødselvarer som utgjør en risiko
- Artikkel 39 Unionsframgangsmåte ved beslutninger om beskyttelsestiltak
- Artikkel 40 EU-gjødselvarer som oppfyller kravene, men som utgjør en risiko
- Artikkel 41 Formelt manglende samsvar
- KAPITTEL VI DELEGERT MYNDIGHET OG KOMITÉPROSEDYRE
- Artikkel 42 Endring av vedlegg
- Artikkel 43 Separate delegerte rettsakter for separate komponentmaterialkategorier
- Artikkel 44 Utøvelse av delegert myndighet
- Artikkel 45 Komitéprosedyre
- KAPITTEL VII ENDRINGER
- Artikkel 46 Endring av forordning (EF) nr. 1069/2009
- Artikkel 47 Endring av forordning (EF) nr. 1107/2009
- KAPITTEL VIII OVERGANGS- OG SLUTTBESTEMMELSER
- Artikkel 48 Sanksjoner
- Artikkel 49 Rapport
- Artikkel 50 Gjennomgåelse av biologisk nedbrytbarhet
- Artikkel 51 Oppheving av forordning (EF) nr. 2003/2003
- Artikkel 52 Overgangsbestemmelser
- Artikkel 53 Ikrafttredelse og anvendelse
-
VEDLEGG I Produktfunksjonskategorier for EU-gjødselvarer
- DEL I PRODUKTFUNKSJONSKATEGORIER
-
DEL II KRAV TIL PRODUKTFUNKSJONSKATEGORIER
- Produktfunksjonskategori 1: GJØDSEL
- Produktfunksjonskategori 2: KALKINGSMIDDEL
- Produktfunksjonskategori 3: JORDFORBEDRINGSMIDDEL
- Produktfunksjonskategori 4: DYRKINGSMEDIUM
- Produktfunksjonskategori 5: HEMMER
- Produktfunksjonskategori 6: BIOSTIMULANT
- Produktfunksjonskategori 7: MEKANISK GJØDSELVAREBLANDING
Ditt søk ga dessverre ingen treff.
Del dokument
Forskrift om EU-gjødselvarer (EU-gjødselvareforskriften)
Forordninger
Konsolidert forordning (EU) 2019/1009 om omsetning av EU-gjødselvarer
Europaparlaments- og rådsforordning (EU) 2019/1009
5. juni 2019
om fastsettelse av regler for tilgjengeliggjøring på markedet av EU-gjødselvarer, om endring av forordning (EF) nr. 1069/2009 og (EF) nr. 1107/2009 og om oppheving av forordning (EF) nr. 2003/2003
EUROPAPARLAMENTET OG RÅDET FOR DEN EUROPEISKE UNION HAR
under henvisning til traktaten om Den europeiske unions virkemåte, særlig artikkel 114,
under henvisning til forslag fra Europakommisjonen,
etter oversending av utkast til regelverksakt til de nasjonale parlamentene,
under henvisning til uttalelse fra Den europeiske økonomiske og sosiale komité1,
etter den ordinære regelverksprosedyren2 og
ut fra følgende betraktninger:
VEDTATT DENNE FORORDNINGEN:
KAPITTEL I
ALMINNELIGE BESTEMMELSER
Artikkel 1 Virkeområde
Denne forordningen får ikke anvendelse på
►EØS
◄EØS
🔗Del paragrafArtikkel 2 Definisjoner
I denne forordningen menes med
Artikkel 3 Fritt varebytte
Artikkel 4 Produktkrav
Artikkel 5 Tilgjengeliggjøring på markedet
EU-gjødselvarer skal bare gjøres tilgjengelige på markedet dersom de er i samsvar med denne forordningen.
🔗Del paragrafKAPITTEL II
MARKEDSDELTAKERNES FORPLIKTELSER
Artikkel 6 Produsentenes forpliktelser
Når det ved framgangsmåten for samsvarsvurdering påvises at en EU-gjødselvare er i samsvar med gjeldende krav i denne forordningen, skal produsentene utarbeide en EU-samsvarserklæring og påføre CE-merkingen.
På anmodning skal produsentene framlegge en kopi av EU-samsvarserklæringen for andre markedsdeltakere.
Når det anses som hensiktsmessig med hensyn til en EU-gjødselvares ytelse eller risikoene den utgjør, skal produsentene foreta stikkprøvekontroll av EU-gjødselvarer som er gjort tilgjengelige på markedet, undersøke og ved behov føre et register over klager, EU-gjødselvarer som ikke er i samsvar med kravene, og tilbakekallinger av slike EU-gjødselvarer og informere distributørene om all slik overvåking.
Artikkel 7 Representant
Forpliktelsene fastsatt i artikkel 6 nr. 1 og forpliktelsen til å utarbeide teknisk dokumentasjon nevnt i artikkel 6 nr. 2 skal ikke være en del av representantens fullmakt.
Artikkel 8 Importørenes forpliktelser
Dersom en importør anser eller har grunn til å tro at en EU-gjødselvare ikke er i samsvar med denne forordningen, skal vedkommende ikke bringe EU-gjødselvaren i omsetning før den er brakt i samsvar med denne forordningen. Dersom EU-gjødselvaren utgjør en risiko for menneskers, dyr eller planters helse, for sikkerheten eller for miljøet, skal importøren dessuten underrette produsenten og markedstilsynsmyndighetene om dette.
På anmodning skal importørene framlegge en kopi av EU-samsvarserklæringen for andre markedsdeltakere.
Artikkel 9 Distributørenes forpliktelser
Dersom en distributør anser eller har grunn til å tro at en EU-gjødselvare ikke er i samsvar med denne forordningen, skal vedkommende ikke gjøre EU-gjødselvaren tilgjengelig på markedet før den er brakt i samsvar med denne forordningen. Dersom EU-gjødselvaren utgjør en risiko for menneskers, dyr eller planters helse, for sikkerheten eller for miljøet, skal distributøren dessuten underrette produsenten eller importøren samt markedstilsynsmyndighetene om dette.
Artikkel 10 Tilfeller der produsentenes forpliktelser gjelder for importører og distributører
En importør eller distributør skal anses som produsent i henhold til denne forordningen og skal være underlagt produsentens forpliktelser i henhold til artikkel 6 når importøren eller distributøren bringer en EU-gjødselvare i omsetning under eget navn eller varemerke eller endrer en EU-gjødselvare som allerede er brakt i omsetning, på en slik måte at det kan påvirke produktets samsvar med denne forordningen.
🔗Del paragrafArtikkel 11 Emballering og ompakking utført av importører og distributører
Dersom en importør eller distributør pakker eller ompakker en EU-gjødselvare og ikke anses som en produsent i henhold til artikkel 10, skal denne importøren eller distributøren
Artikkel 12 Identifisering av markedsdeltakere
KAPITTEL III
EU-GJØDSELVARERS SAMSVAR MED KRAVENE
Artikkel 13 Formodning om samsvar
Artikkel 14 Felles spesifikasjoner
Disse gjennomføringsrettsaktene skal vedtas i samsvar med undersøkelsesprosedyren nevnt i artikkel 45 nr. 3.
Artikkel 15 Framgangsmåter for samsvarsvurdering
Artikkel 16 EU-samsvarserklæring
Artikkel 17 Allmenne prinsipper for CE-merking
CE-merkingen er underlagt de allmenne prinsippene fastsatt i artikkel 30 i forordning (EF) nr. 765/2008.
🔗Del paragrafArtikkel 18 Regler og vilkår for påføring av CE-merkingen
Det meldte organets identifikasjonsnummer skal påføres av organet selv eller av produsenten eller dennes representant etter organets anvisning.
Artikkel 19 Når avfall opphører å være avfall
I denne forordningen fastsettes det kriterier for når materiale som utgjør avfall, som definert i direktiv 2008/98/EF, kan opphøre å være avfall dersom det inngår i en EU-gjødselvare som oppfyller kravene. I slike tilfeller skal gjenvinningen i henhold til denne forordningen utføres før materialet opphører å være avfall, og materialet skal anses for å oppfylle vilkårene i artikkel 6 i det direktivet og derfor ikke lenger for å være avfall fra det tidspunktet da EU-samsvarserklæringen ble utarbeidet.
🔗Del paragrafKAPITTEL IV
MELDING AV SAMSVARSVURDERINGSORGANER
Artikkel 20 Melding
Medlemsstatene skal underrette Kommisjonen og de andre medlemsstatene om organer som har tillatelse til å utføre samsvarsvurdering som tredjepart i henhold til denne forordningen.
🔗Del paragrafArtikkel 21 Meldermyndigheter
Artikkel 22 Krav til meldermyndigheter
Artikkel 23 Meldermyndighetenes informasjonsplikt
Medlemsstatene skal underrette Kommisjonen om sine framgangsmåter for vurdering og melding av samsvarsvurderingsorganer og tilsyn med meldte organer og om eventuelle endringer av disse.
Kommisjonen skal gjøre denne informasjonen offentlig tilgjengelig.
🔗Del paragrafArtikkel 24 Krav til meldte organer
Et samsvarsvurderingsorgan, dets øverste ledelse og personalet med ansvar for å utføre samsvarsvurderingsoppgavene skal ikke være direkte involvert i utvikling, produksjon, markedsføring eller bruk av gjødselvarer eller representere parter som deltar i slike aktiviteter. De skal ikke delta i aktiviteter som kan være i strid med deres uavhengighet eller integritet i forbindelse med samsvarsvurderingsaktivitetene de er meldt for. Dette skal særlig gjelde rådgivningstjenester.
Samsvarsvurderingsorganer skal sikre at deres datterforetaks eller underleverandørers aktiviteter ikke påvirker fortroligheten, objektiviteten eller upartiskheten med hensyn til organenes samsvarsvurderingsaktiviteter.
Et samsvarsvurderingsorgan skal til enhver tid og for hver framgangsmåte for samsvarsvurdering og hver type eller kategori av EU-gjødselvarer som det er meldt for, ha følgende til rådighet:
Et samsvarsvurderingsorgan skal ha de nødvendige midlene til å kunne utføre de tekniske og administrative oppgavene forbundet med samsvarsvurderingsaktivitetene på en tilfredsstillende måte, og skal ha tilgang til alt nødvendig utstyr og alle nødvendige fasiliteter.
Godtgjøringen til øverste ledelse og personalet med ansvar for å utføre et samsvarsvurderingsorgans samsvarsvurderingsoppgaver skal ikke være avhengig av antallet vurderinger som er foretatt, eller av resultatet av vurderingene.
Artikkel 25 Formodning om samsvar for meldte organer
Dersom et samsvarsvurderingsorgan viser at det overholder kriteriene fastsatt i relevante harmoniserte standarder eller deler av disse som det er offentliggjort henvisninger til i Den europeiske unions tidende, skal det formodes å oppfylle kravene i artikkel 24 i den grad de gjeldende harmoniserte standardene omfatter nevnte krav.
🔗Del paragrafArtikkel 26 Meldte organers datterforetak og underleverandører
Artikkel 27 Søknad om melding
Artikkel 28 Framgangsmåte for melding
Bare et slikt organ skal anses for å være et meldt organ i henhold til denne forordningen.
Artikkel 29 Identifikasjonsnumre og lister over meldte organer
Den skal tildele organet ett slikt nummer, selv om det er meldt i henhold til flere unionsrettsakter.
Kommisjonen skal sørge for at listen holdes oppdatert.
🔗Del paragrafArtikkel 30 Endring av meldinger
Artikkel 31 Tvil om meldte organers kompetanse
Nevnte gjennomføringsrettsakt skal vedtas i samsvar med rådgivningsprosedyren nevnt i artikkel 45 nr. 2.
🔗Del paragrafArtikkel 32 Meldte organers driftsmessige forpliktelser
Samtidig skal de overholde den graden av strenghet og det beskyttelsesnivået som kreves for at EU-gjødselvaren skal være i samsvar med denne forordningen.
Artikkel 33 Klager på beslutninger truffet av meldte organer
Medlemsstatene skal sikre at det foreligger en framgangsmåte for å klage på beslutninger truffet av meldte organer.
🔗Del paragrafArtikkel 34 Meldte organers informasjonsplikt
Artikkel 35 Utveksling av erfaring
Kommisjonen skal sørge for at det organiseres erfaringsutveksling mellom medlemsstatenes nasjonale myndigheter med ansvar for meldingspolitikken.
🔗Del paragrafArtikkel 36 Koordinering av meldte organer
Kommisjonen skal sørge for at det innføres egnet koordinering av og samarbeid mellom organer som er meldt i henhold til denne forordningen, og at dette forvaltes på en hensiktsmessig måte i form av en sektorspesifikk gruppe av meldte organer.
Meldte organer skal delta i denne gruppens arbeid, enten direkte eller gjennom utpekte representanter.
🔗Del paragrafKAPITTEL V
TILSYN MED UNIONSMARKEDET, KONTROLL AV EU-GJØDSELVARER SOM INNFØRES PÅ UNIONSMARKEDET, OG UNIONSFRAMGANGSMÅTE VED BESLUTNINGER OM BESKYTTELSESTILTAK
Artikkel 37 Tilsyn med unionsmarkedet og kontroll av EU-gjødselvarer som innføres på unionsmarkedet
Artikkel 16–29 i forordning (EF) nr. 765/2008 får anvendelse på EU-gjødselvarer.
🔗Del paragrafArtikkel 38 Framgangsmåte på nasjonalt plan for å håndtere EU-gjødselvarer som utgjør en risiko
Dersom markedstilsynsmyndighetene i forbindelse med vurderingen nevnt i først ledd finner at EU-gjødselvaren ikke er i samsvar med kravene fastsatt i denne forordningen, skal de uten opphold kreve at den relevante markedsdeltakeren treffer alle egnede korrigerende tiltak innen en rimelig tidsfrist som fastsettes av markedstilsynsmyndighetene i forhold til risikoens art, for å bringe EU-gjødselvaren i samsvar med disse kravene, for å trekke det tilbake fra markedet eller tilbakekalle det.
Markedstilsynsmyndighetene skal underrette det relevante meldte organet om dette.
Artikkel 21 i forordning (EF) nr. 765/2008 får anvendelse på tiltakene nevnt i annet ledd i dette nummeret.
Markedstilsynsmyndighetene skal uten opphold underrette Kommisjonen og de andre medlemsstatene om disse tiltakene.
Artikkel 39 Unionsframgangsmåte ved beslutninger om beskyttelsestiltak
Dersom det nasjonale tiltaket anses som berettiget, skal beslutningen pålegge alle medlemsstater å treffe de nødvendige tiltakene for å sikre at EU-gjødselvaren som ikke oppfyller kravene, trekkes tilbake fra deres marked, og underrette Kommisjonen om dette.
Dersom det nasjonale tiltaket anses som uberettiget, skal beslutningen pålegge den berørte medlemsstaten å trekke tiltaket tilbake.
Kommisjonen skal rette sin beslutning til alle medlemsstatene og umiddelbart oversende den til dem og til den eller de relevante markedsdeltakerne.
Disse gjennomføringsrettsaktene skal vedtas i samsvar med undersøkelsesprosedyren nevnt i artikkel 45 nr. 3.
🔗Del paragrafArtikkel 40 EU-gjødselvarer som oppfyller kravene, men som utgjør en risiko
Disse gjennomføringsrettsaktene skal vedtas i samsvar med undersøkelsesprosedyren nevnt i artikkel 45 nr. 3.
Når det foreligger behørig begrunnede tvingende hasteårsaker knyttet til vern av menneskers, dyrs eller planters helse, sikkerheten eller miljøet, skal Kommisjonen i samsvar med framgangsmåten nevnt i artikkel 45 nr. 4 vedta gjennomføringsrettsakter som får umiddelbar virkning.
Artikkel 41 Formelt manglende samsvar
Medlemsstatenes forpliktelser i denne forbindelse skal ikke berøre deres mulighet til å regulere gjødselvarer som ikke er EU-gjødselvarer.
🔗Del paragrafKAPITTEL VI
DELEGERT MYNDIGHET OG KOMITÉPROSEDYRE
Artikkel 42 Endring av vedlegg
Når Kommisjonen vedtar delegerte rettsakter der det innføres nye grenseverdier for forurensende stoffer i vedlegg I, skal den ta hensyn til vitenskapelige uttalelser fra Den europeiske myndighet for næringsmiddeltrygghet, Det europeiske kjemikaliebyrå eller Kommisjonens felles forskningssenter, alt etter hva som er relevant.
Dersom Kommisjonen vedtar delegerte rettsakter for å legge til eller revidere komponentmaterialkategorier slik at de omfatter materiale som kan anses som gjenvunnet avfall eller biprodukter i henhold til direktiv 2008/98/EF, skal disse delegerte rettsaktene uttrykkelig utelukke slikt materiale fra komponentmaterialkategori 1 og 11 i vedlegg II til denne forordningen.
Når Kommisjonen vedtar delegerte rettsakter i henhold til dette nummeret, skal den særlig prioritere animalske biprodukter, biprodukter i henhold til direktiv 2008/98/EF og gjenvunnet avfall, særlig fra landbrukssektoren og den landbruksbaserte næringsmiddelindustrien, samt materiale og produkter som allerede lovlig er brakt i omsetning i en eller flere medlemsstater.
Kommisjonen skal vurdere slike avledede produkter med hensyn til relevante aspekter som det ikke er tatt hensyn til med henblikk på å fastsette et sluttpunkt i produksjonskjeden i samsvar med forordning (EF) nr. 1069/2009. Dersom det i vurderingen fastslås at kriteriene i nr. 1 bokstav b) i denne artikkelen er oppfylt, skal Kommisjonen vedta delegerte rettsakter i henhold til nr. 1 i denne artikkelen for uten unødig opphold å legge til disse materialene i tabellen i komponentmaterialkategori 10 i del II i vedlegg II til denne forordningen når et slikt sluttpunkt er fastsatt.
Slike kriterier skal sikre
Artikkel 43 Separate delegerte rettsakter for separate komponentmaterialkategorier
Når Kommisjonen utøver sin myndighet til å vedta delegerte rettsakter i henhold til artikkel 42, skal den vedta en separat delegert rettsakt for hver komponentmaterialkategori i vedlegg II. Disse delegerte rettsaktene skal omfatte enhver endring av vedlegg I, III og IV som er nødvendig som følge av endringer av vedlegg II.
🔗Del paragrafArtikkel 44 Utøvelse av delegert myndighet
Artikkel 45 Komitéprosedyre
KAPITTEL VII
ENDRINGER
Artikkel 46 Endring av forordning (EF) nr. 1069/2009
I forordning (EF) nr. 1069/2009 gjøres følgende endringer:
1) I artikkel 5 skal nr. 2 og 3 lyde:
Disse avledede produktene kan deretter bringes i omsetning uten restriksjoner i henhold til denne forordningen, og skal ikke lenger være gjenstand for offentlige kontroller i henhold til denne forordningen.
Kommisjonen gis myndighet til å vedta delegerte rettsakter i samsvar med artikkel 51a om utfylling av denne forordningen ved å fastsette et sluttpunkt i produksjonskjeden der de avledede produktene nevnt i dette nummeret ikke lenger skal være omfattet av kravene i denne forordningen.
2) Ny artikkel skal lyde:
Artikkel 51a Utøvelse av delegert myndighet
Artikkel 47 Endring av forordning (EF) nr. 1107/2009
I forordning (EF) nr. 1107/2009 gjøres følgende endringer:
1) I artikkel 2 nr. 1 skal bokstav b) lyde:
2) i artikkel 3 skal ny bokstav lyde:
3) I artikkel 80 skal nytt nummer lyde:
KAPITTEL VIII
OVERGANGS- OG SLUTTBESTEMMELSER
Artikkel 48 Sanksjoner
Medlemsstatene skal fastsette regler for sanksjoner som får anvendelse ved overtredelse av denne forordningen, og treffe alle nødvendige tiltak for å sikre at sanksjonene gjennomføres. De fastsatte sanksjonene skal være virkningsfulle, stå i forhold til overtredelsen og virke avskrekkende. Medlemsstatene skal uten opphold underrette Kommisjonen om disse reglene og tiltakene og om eventuelle senere endringer av dem.
🔗Del paragrafArtikkel 49 Rapport
Senest 16. juli 2026 skal Kommisjonen framlegge en rapport for Europaparlamentet og Rådet med en vurdering av anvendelsen av denne forordningen og den generelle virkningen den har med hensyn til å oppfylle målene i den, herunder virkningen for små og mellomstore bedrifter. Rapporten skal inneholde
I rapporten skal det tas behørig hensyn til den teknologiske utviklingen, innovasjon og standardiseringsprosesser som påvirker produksjonen og bruken av gjødselvarer. Den skal ved behov ledsages av et forslag til regelverk.
🔗Del paragrafArtikkel 50 Gjennomgåelse av biologisk nedbrytbarhet
Senest 16. juli 2024 skal Kommisjonen foreta en gjennomgåelse for å vurdere muligheten for å fastsette kriterier for biologisk nedbrytbarhet for markdekningsfilmer og muligheten for å la dem inngå i komponentmaterialkategori 9 i vedlegg II del II.
🔗Del paragrafArtikkel 51 Oppheving av forordning (EF) nr. 2003/2003
Forordning (EF) nr. 2003/2003 oppheves med virkning fra 16. juli 2022.
Henvisninger til den opphevede forordningen skal forstås som henvisninger til denne forordningen.
🔗Del paragrafArtikkel 52 Overgangsbestemmelser
Medlemsstatene skal ikke hindre tilgjengeliggjøring på markedet av produkter som er brakt i omsetning som gjødsel med betegnelsen «EF-gjødsel» i samsvar med forordning (EF) nr. 2003/2003 før 16. juli 2022. ►EØS eller ikrafttredelsesdatoen for EØS-komiteens beslutning nr. 77/2023 av 28. april 2023, alt etter hva som inntreffer sist ◄EØS Kapittel V i denne forordningen gjelder imidlertid tilsvarende med nødvendige endringer for slike produkter.
🔗Del paragrafArtikkel 53 Ikrafttredelse og anvendelse
Denne forordningen trer i kraft den 20. dagen etter at den er kunngjort i Den europeiske unions tidende.
Den får anvendelse fra 16. juli 2022.
Imidlertid gjelder følgende:
VEDLEGG I
Produktfunksjonskategorier for EU-gjødselvarer
DEL I
PRODUKTFUNKSJONSKATEGORIER
DEL II
KRAV TIL PRODUKTFUNKSJONSKATEGORIER
►M1
◄M1
Organisk karbon (Corg) = organisk materiale × 0,56
Produktfunksjonskategori 1: GJØDSEL
En gjødsel skal være en EU-gjødselvare som har som funksjon å tilføre næringsstoffer til planter eller sopp.
Produktfunksjonskategori 1.A: ORGANISK GJØDSEL
av utelukkende biologisk opprinnelse.
En organisk gjødsel kan inneholde torv, leonarditt og lignitt, men ikke annet materiale som er fossilert eller innleiret i geologiske formasjoner.
Biuret (C2H5N3O2) må ikke forekomme i en organisk gjødsel.
der
Produktfunksjonskategori 1.A.I: FAST ORGANISK GJØDSEL
Dersom en fast organisk gjødsel bare inneholder ett deklarert hovednæringsstoff, skal innholdet av det næringsstoffet være minst
Dersom en fast organisk gjødsel inneholder mer enn ett deklarert hovednæringsstoff, skal innholdet av disse næringsstoffene være minst
Summen av innholdet av disse næringsstoffene skal være minst 4 masseprosent.
Produktfunksjonskategori 1.A.II: FLYTENDE ORGANISK GJØDSEL
Dersom en flytende organisk gjødsel bare inneholder ett deklarert hovednæringsstoff, skal innholdet av det næringsstoffet være minst
Dersom en flytende organisk gjødsel inneholder mer enn ett deklarert hovednæringsstoff, skal innholdet av disse næringsstoffene være minst
Summen av innholdet av disse næringsstoffene skal være minst 3 masseprosent.
Produktfunksjonskategori 1.B: ORGANISK-MINERALSK GJØDSEL
av utelukkende biologisk opprinnelse.
En organisk-mineralsk gjødsel kan inneholde torv, leonarditt og lignitt, men ikke annet materiale som er fossilert eller innleiret i geologiske formasjoner.
der
Produktfunksjonskategori 1.B.I: FAST ORGANISK-MINERALSK GJØDSEL
Dersom en fast organisk-mineralsk gjødsel bare inneholder ett deklarert hovednæringsstoff, skal innholdet av det næringsstoffet være minst
Dersom en fast organisk-mineralsk gjødsel inneholder mer enn ett deklarert hovednæringsstoff, skal innholdet av disse næringsstoffene være minst
Summen av innholdet av disse næringsstoffene skal være minst 8 masseprosent.
Produktfunksjonskategori 1.B.II: FLYTENDE ORGANISK-MINERALSK GJØDSEL
Dersom en flytende organisk-mineralsk gjødsel bare inneholder ett deklarert hovednæringsstoff, skal innholdet av det næringsstoffet være minst
Dersom en flytende organisk-mineralsk gjødsel inneholder mer enn ett deklarert hovednæringsstoff, skal innholdet av disse næringsstoffene være minst
Summen av innholdet av disse næringsstoffene skal være minst 6 masseprosent.
Produktfunksjonskategori 1.C: UORGANISK GJØDSEL
►M6
◄M6
oppfylle kravet om at innholdet av patogener i en uorganisk gjødsel ikke må overstige grenseverdiene angitt i følgende tabell:
der
Produktfunksjonskategori 1.C.I: UORGANISK MAKRONÆRINGSGJØDSEL
Produktfunksjonskategori 1.C.I a): FAST UORGANISK MAKRONÆRINGSGJØDSEL
En fast uorganisk makronæringsgjødsel skal være i fast form.
Produktfunksjonskategori 1.C.I a) i): REN FAST UORGANISK MAKRONÆRINGSGJØDSEL
►M7
◄M7
Innholdet av totalt natriumoksid (Na2O) skal imidlertid ikke overstige 40 masseprosent.
Dersom en ren fast uorganisk makronæringsgjødsel bare inneholder ett deklarert primært makronæringsstoff (nitrogen (N), fosfor (P), kalium (K)) og ett eller flere deklarerte sekundære makronæringsstoffer (kalsium (Ca), magnesium (Mg), natrium (Na), svovel (S)),
Innholdet av totalt natriumoksid (Na2O) skal imidlertid ikke overstige 40 masseprosent.
Summen av innholdet av alle deklarerte primære og sekundære makronæringsstoffer skal være minst 18 masseprosent.
Produktfunksjonskategori 1.C.I a) ii): SAMMENSATT FAST UORGANISK MAKRONÆRINGSGJØDSEL
Innholdet av totalt natriumoksid (Na2O) skal imidlertid ikke overstige 40 masseprosent.
Summen av innholdet av alle deklarerte makronæringsstoffer skal være minst 18 masseprosent.
Produktfunksjonskategori 1.C.I a) i–ii) A): REN ELLER SAMMENSATT FAST UORGANISK AMMONIUMNITRATGJØDSEL MED MAKRONÆRINGSSTOFFER OG HØYT NITROGENINNHOLD
sammentrykkes en eller flere av de understøttende blysylindrene mindre enn 5 %.
Produktfunksjonskategori 1.C.I. b): FLYTENDE UORGANISK MAKRONÆRINGSGJØDSEL
En flytende uorganisk makronæringsgjødsel skal være i flytende form.
Produktfunksjonskategori 1.C.I b) i): REN FLYTENDE UORGANISK MAKRONÆRINGSGJØDSEL
Innholdet av totalt natriumoksid (Na2O) skal imidlertid ikke overstige 40 masseprosent.
Dersom en ren flytende uorganisk makronæringsgjødsel bare inneholder ett deklarert primært makronæringsstoff (nitrogen (N), fosfor (P), kalium (K)) og ett eller flere deklarerte sekundære makronæringsstoffer (kalsium (Ca), magnesium (Mg), natrium (Na), svovel (S)),
Innholdet av totalt natriumoksid (Na2O) skal imidlertid ikke overstige 20 masseprosent.
Summen av innholdet av alle deklarerte primære og sekundære makronæringsstoffer skal være minst 7 masseprosent.
Produktfunksjonskategori 1.C.I b) ii): SAMMENSATT FLYTENDE UORGANISK MAKRONÆRINGSGJØDSEL
Innholdet av totalt natriumoksid (Na2O) skal imidlertid ikke overstige 20 masseprosent.
Summen av innholdet av alle deklarerte næringsstoffer skal være minst 7 masseprosent.
Produktfunksjonskategori 1.C.II: UORGANISK MIKRONÆRINGSGJØDSEL
(mg/kg av det samlede innholdet av mikronæringsstoffer, dvs. (B), kobolt (Co), kobber (Cu), jern (Fe), mangan (Mn), molybden (Mo) og sink (Zn))
Produktfunksjonskategori 1.C.II a): REN UORGANISK MIKRONÆRINGSGJØDSEL
– minst 80 % av det vannløselige mikronæringsstoffet skal være kelatert med en kelatdanner som oppfyller kravene i komponentmaterialkategori 1 i vedlegg II i del II
– minst 80 % av det vannløselige mikronæringsstoffet skal være kompleksbundet med en kompleksdanner som oppfyller kravene i komponentmaterialkategori 1 i vedlegg II del II
Produktfunksjonskategori 1.C.II b): SAMMENSATT UORGANISK MIKRONÆRINGSGJØDSEL
Produktfunksjonskategori 2: KALKINGSMIDDEL
Et kalkingsmiddel skal inneholde oksider, hydroksider, karbonater eller silikater av næringsstoffene kalsium (Ca) eller magnesium (Mg).
Produktfunksjonskategori 3: JORDFORBEDRINGSMIDDEL
Et jordforbedringsmiddel er en EU-gjødselvare som har som funksjon å opprettholde, forbedre eller beskytte de fysiske eller kjemiske egenskapene, strukturen eller den biologiske aktiviteten til jorden som det tilsettes.
Produktfunksjonskategori 3.A: ORGANISK JORDFORBEDRINGSMIDDEL
Et organisk jordforbedringsmiddel kan inneholde torv, leonarditt og lignitt, men ikke annet materiale som er fossilert eller innleiret i geologiske formasjoner.
der
Produktfunksjonskategori 3.B: UORGANISK JORDFORBEDRINGSMIDDEL
►M1
der
◄M1
Produktfunksjonskategori 4: DYRKINGSMEDIUM
Med henblikk på dette nummeret omfatter planter også alger.
►M1
◄M1
der
Produktfunksjonskategori 5: HEMMER
En hemmer er en EU-gjødselvare som har som funksjon å forbedre næringsstoffutslippsmønstrene til en gjødselvare som tilfører planter næringsstoffer, ved å forsinke eller stoppe aktiviteten til spesifikke grupper av mikroorganismer eller enzymer.
Produktfunksjonskategori 5.A: NITRIFIKASJONSHEMMER
Sammenlignet med en kontrollprøve der nitrifikasjonshemmeren ikke er tilsatt, skal en jordprøve som inneholder nitrifikasjonshemmeren, vise en reduksjon på 20 % av oksidasjonshastigheten for ammoniumnitrogen (NH3-N) på grunnlag av en analyse som foretas 14 dager etter anvendelsen ved et konfidensnivå på 95 %.
Produktfunksjonskategori 5.B: DENITRIFIKASJONSHEMMER
Produktfunksjonskategori 5.C: UREASEHEMMER
Produktfunksjonskategori 6: BIOSTIMULANT
Produktfunksjonskategori 6.A: MIKROBIELL BIOSTIMULANT
der
Produktfunksjonskategori 6.B: IKKE-MIKROBIELL BIOSTIMULANT
der
Produktfunksjonskategori 7: MEKANISK GJØDSELVAREBLANDING
►M6
◄M6
VEDLEGG II
Komponentmaterialkategorier
En EU-gjødselvare skal utelukkende bestå av komponentmaterialer som oppfyller kravene for en eller flere av komponentmaterialkategoriene i dette vedlegget.
Komponentmaterialene og innsatsmaterialene som brukes til å produsere dem, skal ikke inneholde noen av stoffene som det er angitt grenseverdier for i vedlegg I, i slike mengder at EU-gjødselvaren ikke oppfyller de gjeldende kravene i det vedlegget.
DEL I
KOMPONENTMATERIALKATEGORIER
►M2
◄M2
►M3
◄M3
►M4
◄M4
►M5
◄M5
DEL II
KRAV TIL KOMPONENTMATERIALKATEGORIER
I denne delen defineres de komponentmaterialene som EU-gjødselvarer utelukkende skal bestå av.
Komponentmaterialkategori 1: STOFFER OG BLANDINGER AV JOMFRUELIGE MATERIALER
►M1
◄M1
►M2
◄M2
►M3
◄M3
►M4
◄M4
►M5
◄M5
►M6
med mindre de uttrykkelig omfattes av et av unntakene fra registreringsplikten nevnt i vedlegg IV til forordning (EF) nr. 1907/2006 eller i nr. 6, 7, 8 eller 10 (bare for magnesia) i vedlegg V til den forordningen.
◄M6
►M1
EU-gjødselvaren skal være stabil i minst tre dager i en løsning med en pH-verdi som ligger innenfor området som oppgis å garantere akseptabel stabilitet.
◄M1
EU-gjødselvaren skal være stabil i en vannløsning ved pH 6 og 7 i minst én dag.
►M6
Oksidasjonshastigheten for ammoniumnitrogen (NH3-N) skal måles enten ved
Sammenlignet med en kontrollprøve der den nitrifikasjonshemmende forbindelsen ikke er tilsatt, skal en jordprøve som inneholder den nitrifikasjonshemmende forbindelsen, vise en reduksjon på 20 % av oksidasjonshastigheten for ammoniumnitrogen (NH3-N) på grunnlag av en analyse som foretas 14 dager etter anvendelsen ved et konfidensnivå på 95 %.
Den nitrifikasjonshemmende forbindelsen skal forekomme i EU-gjødselvaren i en konsentrasjon som ligger innenfor det konsentrasjonsområdet som sikrer at en slik reduksjon oppnås.
Minst 50 % av EU-gjødselvarens innhold av totalnitrogen (N) skal bestå av nitrogenformene (N) ammonium (NH4+) og urea (CH4N2O).
Sammenlignet med en kontrollprøve der den denitrifikasjonshemmende forbindelsen ikke er tilsatt, skal en in vitro-test som inneholder den denitrifikasjonshemmende forbindelsen, vise en reduksjon på 20 % av frigivelseshastigheten for dinitrogenoksid (N2O) på grunnlag av en analyse som foretas 14 dager etter anvendelsen ved et konfidensnivå på 95 %.
Den denitrifikasjonshemmende forbindelsen skal forekomme i EU-gjødselvaren i en konsentrasjon som ligger innenfor det konsentrasjonsområdet som sikrer at en slik reduksjon oppnås.
Sammenlignet med en kontrollprøve der den ureasehemmende forbindelsen ikke er tilsatt, skal en in vitro-test som inneholder den ureasehemmende forbindelsen, vise en reduksjon på 20 % av hydrolysehastigheten for urea (CH4N2O) på grunnlag av en analyse som foretas 14 dager etter anvendelsen ved et konfidensnivå på 95 %.
Den ureasehemmende forbindelsen skal forekomme i EU-gjødselvaren i en konsentrasjon som ligger innenfor det konsentrasjonsområdet som sikrer at en slik reduksjon oppnås.
Minst 50 % av EU-gjødselvarens innhold av totalnitrogen (N) skal bestå av nitrogenformen (N) urea (CH4N2O).
◄M6
Komponentmaterialkategori 2: PLANTER, PLANTEDELER ELLER PLANTEEKSTRAKTER
►M1
En EU-gjødselvare kan inneholde planter, plantedeler eller planteekstrakter som ikke har gjennomgått annen bearbeiding enn skjæring, finmaling, oppmaling, siling, sikting, sentrifugering, pressing, tørking, kuldebehandling, frysetørking, ekstraksjon med vann, superkritisk CO2-ekstraksjon eller defibrering ved en temperatur på høyst 100 °C og uten andre tilsetningsstoffer enn vann.
◄M1
Med henblikk på dette punktet omfatter planter også sopp og alger, men ikke blågrønnalger (cyanobakterier).
Komponentmaterialkategori 3: KOMPOST
►M1
◄M1
►M1
◄M1
►M6
►M1
◄M1
►M1
◄M1
►M1
◄M1
Fra 16. juli 2026 skal forekomsten av plast på over 2 mm innenfor grenseverdien nevnt i bokstav b) være høyst 2,5 g/kg tørrstoff. Senest 16. juli 2029 skal grenseverdien på 2,5 g/kg tørrstoff for plast på over 2 mm vurderes på nytt for å ta hensyn til framskrittene innen separat innsamling av bioavfall.
►M10
◄M10
Komponentmaterialkategori 4: BIORESTER FRA FERSKE AVLINGER
►M6
►M6
Komponentmaterialkategori 5: ANDRE BIORESTER ENN BIORESTER FRA FERSKE AVLINGER
►M1
◄M1
►M1
►M6
►M1
◄M1
►M1
◄M1
►M1
►M6
Fra 16. juli 2026 skal forekomsten av plast på over 2 mm innenfor grenseverdien nevnt i bokstav a) være høyst 2,5 g/kg tørrstoff. Senest 16. juli 2029 skal grenseverdien på 2,5 g/kg tørrstoff for plast på over 2 mm vurderes på nytt for å ta hensyn til framskrittene innen separat innsamling av bioavfall.
►M6
►M10
◄M10
Komponentmaterialkategori 6: BIPRODUKTER FRA NÆRINGSMIDDELINDUSTRIEN
►M6
◄M6
Komponentmaterialkategori 7: MIKROORGANISMER
En EU-gjødselvare som tilhører produktfunksjonskategori 6.A, kan inneholde mikroorganismer, herunder døde mikroorganismer eller mikroorganismer med tomme celler og ikke-skadelige restelementer fra mediene de er produsert på, som
Komponentmaterialkategori 8: NÆRINGSSTOFFPOLYMERER
Komponentmaterialkategori 9: ANDRE POLYMERER ENN NÆRINGSSTOFFPOLYMERER
►M11
◄M11
►M11
◄M11
Resultatene anses bare for å være gyldige dersom det av kontrollprøvene (det vil si referansejorden) framgår at
►M11
Resultatene anses for å være gyldige bare dersom det av kontrollprøvene (det vil si referansejorden) framgår at
◄M11
►M11
Tillegg 2
Kriterier for biologisk nedbrytbarhet for polymerer i markdekningsfilmer nevnt i nr. 1a i avsnittet Komponentmaterialkategori 9
Da anses det relevante kriteriet i nr. 2 bokstav a) for å være påvist dersom polymeren oppnår
◄M11
►M8
Komponentmaterialkategori 10: AVLEDEDE PRODUKTER I HENHOLD TIL FORORDNING (EF) NR. 1069/2009
a) Minst 90 prosent av materialets tørrmasse kan passere gjennom en sikt med en maskestørrelse på 0,25 mm.
b) Materialet har blitt granulert under trykk, pelletert eller tørket ved temperaturer over 100 °C, eller har gjennomgått en tilsvarende prosess som sikrer at innholdet av levedyktige ugressfrø og diasporer i den bearbeidede husdyrgjødselen ikke overstiger tre enheter per liter.
c) Materialet oppfyller minst ett av stabilitetskriteriene fastsatt i nr. 5 under komponentmaterialkategori 3.
1.2. Materialet nevnt i nr. 1.1 kan gjennomgå én eller flere av følgende ytterligere prosesser:
a) Bearbeidingsmetodene nevnt i komponentmaterialkategori 2.
b) Biologisk behandling som omfatter nitrifikasjon og denitrifikasjon.
c) Mekanisk utskilling av faste og flytende fraksjoner.
d) Prosesser for å gjenvinne næringsstoffer og/eller organisk karbon, uten at det er hensikten å endre materialet på annen måte.
e) Kjemisk bearbeiding for å endre pH-verdien, uten at det er hensikten å endre materialet på annen måte.
f) Fysisk bearbeiding for å fjerne vann og omdanne materialet til pulver, granulater eller pelleter, uten at det er hensikten å endre materialet på annen måte.
1.3. Tilsetningsstoffer som er nødvendige for bearbeidingen som nevnt i nr. 1.1 og 1.2, kan brukes forutsatt at
a) tilsetningsstoffet oppfyller kravene fastsatt i nr. 2 i komponentmaterialkategori 1,
b) konsentrasjonen av de tilsetningsstoffene som er nødvendige i hver prosess, ikke overstiger 5 % av vekten av den bearbeidede husdyrgjødselen eller fraksjonen som brukes som innsatsmateriale i den respektive prosessen.
1.4. Den bearbeidede husdyrgjødselen skal inneholde høyst 6 mg PAH16 per kg tørrstoff.2
1.5. Bearbeidet husdyrgjødsel som skal brukes som komponentmateriale i en EU-gjødselvare, skal lagres på en slik måte at den beskyttes mot nedbør og direkte sollys.
◄M8
Komponentmaterialkategori 11: BIPRODUKTER I HENHOLD TIL DIREKTIV 2008/98/EF
►M1
◄M1
►M2
◄M2
►M3
◄M3
►M4
◄M4
►M5
◄M5
►M6
◄M6
►M2
Komponentmaterialkategori 12: UTFELTE FOSFATSALTER OG DERIVATER AV DISSE
Utfelte fosfatsalter skal dessuten framstilles ved utfelling fra innsatsmaterialene nevnt i bokstav a)-f), eller en kombinasjon av dette, som er bearbeidet ved manuell, mekanisk eller tyngdemessig påvirkning, fast-flytende fraksjonering ved bruk av biologisk nedbrytbare polymerer, oppløsning i vann, flotasjon, ekstraksjon med vann, dampdestillasjon eller oppvarming utelukkende for å fjerne vann, termisk hydrolyse, anaerob nedbryting eller kompostering. Temperaturen under slike prosesser skal ikke overstige 275 °C.
På anlegget der utfellingen finner sted, skal fysisk kontakt mellom innsatsmaterialet og produsert materiale unngås etter utfellingsprosessen, også under oppbevaring.
Derivatene skal framstilles på en slik måte at den kjemiske sammensetningen av de utfelte fosfatsaltene endres med hensikt.
En EU-gjødselvare kan også inneholde derivater av slike utfelte fosfatsalter framstilt i samsvar med vilkårene fastsatt i nr. 4.
der
der
►M6
◄M6
►M10
◄M10
◄M2
►M3
Komponentmaterialkategori 13: MATERIALER FRA TERMISK OKSIDASJON OG DERIVATER AV DISSE
Alle følgende vilkår skal være oppfylt på anlegget der den termiske oksidasjonen finner sted:
Derivatene skal framstilles på en slik måte at den kjemiske sammensetningen av materialet fra termisk oksidasjon endres med hensikt.
Derivatene skal framstilles på følgende måte:
Materialer fra termisk oksidasjon som viser en eller flere av de farlige egenskapene angitt i vedlegg III til direktiv 2008/98/EF, skal ikke blandes eller brukes i reaksjoner med avfall, stoffer eller materialer med det formål å redusere farlige stoffer til nivåer under grenseverdiene for den farlige egenskapen fastsatt i vedlegg III til det direktivet. Produsenter som bruker materialer fra termisk oksidasjon med farlige egenskaper, skal ved hjelp av en masse-balansemetode vise at de forurensende stoffene er blitt fjernet eller omdannet til nivåer som ligger under grenseverdiene fastsatt i vedlegg III til direktiv 2008/98/EF.
Innholdet av klor (Cl-) skal ikke være høyere enn 30 g/kg tørrstoff. Denne grenseverdien gjelder imidlertid ikke for EU-gjødselvarer framstilt ved en prosess der en forbindelse som inneholder Cl-, er blitt tilsatt med det formålet å produsere alkalimetallsalter eller jordalkalimetallsalter og er deklarert i samsvar med vedlegg III.
Innholdet av vanadium (V) skal ikke være høyere enn 600 mg/kg tørrstoff dersom materialene fra termisk oksidasjon eller derivater av disse stammer fra innsatsmaterialene nevnt i nr. 1 bokstav g) eller i).
►M6
◄M6
►M10
◄M10
◄M3
►M4
Komponentmaterialkategori 14: PYROLYSE- OG GASSIFISERINGSMATERIALER
En EU-gjødselvare kan inneholde pyrolyse- og gassifiseringsmaterialer framstilt ved termokjemisk omdanning under oksygenbegrensende forhold av innsatsmaterialene nevnt i bokstav a)-e), eller en kombinasjon av dette, som er bearbeidet ved manuell, mekanisk eller tyngdemessig påvirkning, fast-flytende fraksjonering ved hjelp av biologisk nedbrytbare polymerer, oppløsning i vann, flotasjon, ekstraksjon med vann, dampdestillasjon eller oppvarming utelukkende for å fjerne vann, kompostering eller anaerob nedbryting.
I pyrolyse- eller gassifiseringsreaktoren skal det bare behandles innsatsmaterialer som ikke er forurenset med andre materialstrømmer, eller innsatsmaterialer, bortsett fra animalske biprodukter eller avledede produkter som omfattes av forordning (EF) nr. 1069/2009, som utilsiktet er blitt forurenset med andre materialstrømmer under en enkeltstående hendelse, og som bare fører til spormengder av eksogene forbindelser.
På anlegget der pyrolyse og gassifisering finner sted, skal fysisk kontakt mellom innsatsmaterialet og produsert mate-riale unngås etter den termokjemiske prosessen, også under oppbevaring.
►M6
(opphevet)
◄M6
►M6
◄M6
►M10
◄M10
◄M4
►M5
Komponentmaterialkategori 15: GJENVUNNE MATERIALER MED HØY RENHET
Innsatsmaterialene nevnt i punkt i)-vi) skal ikke inneholde animalske biprodukter eller avledede produkter som omfattes av forordning (EF) nr. 1069/2009.
der
Kravene i nr. 7 og kravene som gjelder Salmonella spp., Escherichia coli eller ►M10 enterokokker ◄M10 fastsatt i vedlegg I for den tilsvarende produktfunksjonskategorien for en EU-gjødselvare som bare består av materialene med høy renhet nevnt i nr. 2 bokstav b), får ikke anvendelse når materialene med høy renhet eller alle de biogene innsatsmaterialene har gjennomgått en av følgende prosesser:
Kravene i nr. 7 og kravene som gjelder Salmonella spp., Escherichia coli eller ►M10 enterokokker ◄M10 fastsatt i vedlegg I for den tilsvarende produktfunksjonskategorien for en EU-gjødselvare som bare består av materialene med høy renhet nevnt i nr. 2 bokstav b), får ikke anvendelse dersom avgassene stammer fra en forbrenningsprosess som definert i direktiv 2010/75/EU.
►M6
◄M6
◄M5
VEDLEGG III
Krav til merking
I dette vedlegget fastsettes det krav til merking av EU-gjødselvarer. Kravene fastsatt i del II og del III i dette vedlegget for en bestemt produktfunksjonskategori, som angitt i vedlegg I, gjelder for EU-gjødselvarer i alle underkategorier av den aktuelle produktfunksjonskategorien.
DEL I
GENERELLE KRAV TIL MERKING
►M11
◄M11
►M1
◄M1
►M1
◄M1
►M9
◄M9
►M4
◄M4
►M5
Dersom innholdet av selen eller klorid angis i samsvar med bokstav a) og b), skal denne informasjonen være tydelig atskilt fra næringsstoffdeklarasjonen og kan uttrykkes som et verdiintervall.
Dersom innholdet av selen eller klorid i en EU-gjødselvare er lavere enn grenseverdiene i bokstav a) og b), og dette med sikkerhet og ubestridelig følger av arten av eller gjenvinningsprosessen for materialet med høy renhet eller produksjonsprosessen for EU-gjødselvaren som inneholder et slikt materiale, alt etter hva som er relevant, kan informasjon om disse parametrene utelates fra etiketten uten verifisering (for eksempel testing) på produsentens ansvar.
◄M5
►M8
Dersom en EU-gjødselvare inneholder bearbeidet husdyrgjødsel som nevnt i del II, komponentmaterialekategori 10, i vedlegg II, skal følgende eller en lignende advarsel stå på etiketten: «Denne varen kan inneholde aminopyralid eller klopyralid og må ikke brukes til produksjon av planter som er sensitive for disse stoffene, for eksempel bønner, kløver, linser, erter, salat, solsikker og tomater. Denne varen må brukes på en slik måte at det ikke fører til overskridelse av grenseverdiene for rester for næringsmidler eller fôrvarer fastsatt i samsvar med forordning (EF) nr. 396/2005.» En slik advarsel er ikke nødvendig for EU-gjødselvarer som inneholder bearbeidet husdyrgjødsel med høyst 50 μg aminopyralid eller klopyralid per kg tørrstoff.
◄M8
DEL II
PRODUKTSPESIFIKKE KRAV TIL MERKING
Produktfunksjonskategori 1: GJØDSEL
►M6
◄M6
►M6
◄M6
Produktfunksjonskategori 1.A: ORGANISK GJØDSEL
Følgende informasjon skal gis:
Produktfunksjonskategori 1.B: ORGANISK-MINERALSK GJØDSEL
►M1
◄M1
►M1
«kelatert med [navnet på kelatdanneren/-dannerne eller en forkortelse for det]» / «kompleksbundet med [navnet på kompleksdanneren/-dannerne eller en forkortelse for det]» / «kelatert med [navnet på kelatdanneren/-dannerne eller en forkortelse for det] og kompleksbundet med [navnet på kompleksdanneren/-dannerne eller en forkortelse for det],
◄M1
►M1
(opphevet)
◄M1
Produktfunksjonskategori 1.C: UORGANISK GJØDSEL
Produktfunksjonskategori 1.C.I: UORGANISK MAKRONÆRINGSGJØDSEL
Produktfunksjonskategori 1.C.I a): FAST UORGANISK MAKRONÆRINGSGJØDSEL
►M1
◄M1
►M1
◄M1
►M1
«kelatert med [navnet på kelatdanneren/-dannerne eller en forkortelse for det]» / «kompleksbundet med [navnet på kompleksdanneren/-dannerne eller en forkortelse for det]» / «kelatert med [navnet på kelatdanneren/-dannerne eller en forkortelse for det] og kompleksbundet med [navnet på kompleksdanneren/-dannerne eller en forkortelse for det],
◄M1
►M1
(Opphevet)
◄M1
Produktfunksjonskategori 1.C.I. b): FLYTENDE UORGANISK MAKRONÆRINGSGJØDSEL
►M1
◄M1
►M1
«kelatert med [navnet på kelatdanneren/-dannerne eller en forkortelse for det]» / «kompleksbundet med [navnet på kompleksdanneren/-dannerne eller en forkortelse for det]» / «kelatert med [navnet på kelatdanneren/-dannerne eller en forkortelse for det] og kompleksbundet med [navnet på kompleksdanneren/-dannerne eller en forkortelse for det],
◄M1
►M1
(Opphevet)
◄M1
Produktfunksjonskategori 1.C.II: UORGANISK MIKRONÆRINGSGJØDSEL
►M1
◄M1
►M1
(Opphevet)
◄M1
Produktfunksjonskategori 1.C.II a): REN UORGANISK MIKRONÆRINGSGJØDSEL
Produktfunksjonskategori 1.C.II b): SAMMENSATT UORGANISK MIKRONÆRINGSGJØDSEL
Produktfunksjonskategori 2: KALKINGSMIDDEL
Følgende parametrer skal deklareres i følgende rekkefølge:
Produktfunksjonskategori 3: JORDFORBEDRINGSMIDDEL
Produktfunksjonskategori 3.A: ORGANISK JORDFORBEDRINGSMIDDEL
Følgende parametrer skal deklareres:
Produktfunksjonskategori 4: DYRKINGSMEDIUM
Følgende parametrer skal deklareres i følgende rekkefølge:
►M6
Produktfunksjonskategori 5: HEMMER
◄M6
Produktfunksjonskategori 6: BIOSTIMULANT
Følgende informasjon skal gis:
Produktfunksjonskategori 6.A: MIKROBIELL BIOSTIMULANT
Alle bevisst tilsatte mikroorganismer skal angis. Dersom mikroorganismen har flere stammer, skal de bevisst tilsatte stammene angis. Konsentrasjonen av dem skal uttrykkes som antallet aktive enheter per volum eller vekt eller på en annen måte som er relevant for mikroorganismen, for eksempel kolonidannende enheter per gram (KDE/g).
Etiketten skal inneholde følgende tekst: «Mikroorganismer kan framkalle sensibiliseringsreaksjoner.»
Produktfunksjonskategori 7: MEKANISK GJØDSELVAREBLANDING
Alle merkingskrav som gjelder for alle EU-gjødselvarekomponenter, gjelder for den mekanisme gjødselvareblandingen og skal uttrykkes i forhold til den endelige mekaniske gjødselvareblandingen.
Dersom den mekanisme gjødselvareblandingen inneholder en eller flere biostimulanter som tilhører produktfunksjonskategori 6, skal konsentrasjonen av hver biostimulant i blandingen angis i g/kg eller g/l ved 20 °C.
►M6
Dersom gjødselvareblandingen inneholder en eller flere hemmere som tilhører produktfunksjonskategori 5, skal bruksanvisningen nevnt i nr. 3 i produktfunksjonskategori 5 i del II i dette vedlegget ikke tilføyes.◄M6
DEL III
TOLERANSEREGLER
►M6
Produktfunksjonskategori 1: GJØDSEL
Følgende toleranseregler gjelder for gjødsel som inneholder nitrifikasjons-, denitrifikasjons- eller ureasehemmende forbindelser som angitt i komponentmaterialkategori 1 i vedlegg II del II:
◄M6
Produktfunksjonskategori 1.A: ORGANISK GJØDSEL
Produktfunksjonskategori 1.B: ORGANISK-MINERALSK GJØDSEL
Produktfunksjonskategori 1.C: UORGANISK GJØDSEL
►M1
+ 50 % av det deklarerte innholdet opptil høyst 1,8 prosentpoeng i absolutte tall
Et relativt avvik på ± 5 % fra den deklarerte verdien for produkter som tilhører produktfunksjonskategori 1.C.II ◄M10
◄M1
►M10 – – – ◄M10
Produktfunksjonskategori 2: KALKINGSMIDDEL
Produktfunksjonskategori 3: JORDFORBEDRINGSMIDDEL
Organisk karbon (Corg)
Produktfunksjonskategori 4: DYRKINGSMEDIUM
Produktfunksjonskategori 5: HEMMER
Mengde: Et relativt avvik på ± 5 % fra den deklarerte verdien
►M1
Produktfunksjonskategori 6: BIOSTIMULANT
Mengden av en biostimulant kan avvike med ± 5 % fra den deklarerte verdien.
◄M1
Produktfunksjonskategori 6.A: MIKROBIELL BIOSTIMULANT
Den eller de faktiske konsentrasjonene av mikroorganismer må ikke avvike med mer enn 15 % fra den eller de deklarerte verdiene.
Produktfunksjonskategori 7: MEKANISK GJØDSELVAREBLANDING
►M1
Dersom den mekaniske gjødselvareblandingen inneholder en eller flere biostimulanter som tilhører produktfunksjonskategori 6, gjelder følgende toleranser for den deklarerte konsentrasjonen av hver biostimulant:
VEDLEGG IV
Framgangsmåter for samsvarsvurdering
DEL I
ANVENDELSE AV FRAMGANGSMÅTER FOR SAMSVARSVURDERING
I denne delen fastsettes bruken av modulene for framgangsmåtene for samsvarsvurdering, som angitt i del II i dette vedlegget, på EU-gjødselvarer avhengig av deres komponentmaterialkategorier som angitt i vedlegg II og deres produktfunksjonskategorier som angitt i vedlegg I.
►M6
◄M6
Modul A1 skal brukes på en ren eller sammensatt fast uorganisk ammoniumnitratgjødsel med makronæringsstoffer og høyt nitrogeninnhold som angitt i produktfunksjonskategori 1.C.I a) i–ii) A) og en mekanisk gjødselvareblanding som angitt i produktfunksjonskategori 7 som inneholder minst 28 % masseprosent nitrogen (N) fra en EU-gjødselvare som tilhører produktfunksjonskategori 1.C.I a) i–ii) A).
►M6
◄M6
►M1
◄M1
DEL II
BESKRIVELSE AV FRAMGANGSMÅTER FOR SAMSVARSVURDERING
MODUL A – INTERN PRODUKSJONSKONTROLL
Intern produksjonskontroll er den framgangsmåten for samsvarsvurdering der produsenten oppfyller forpliktelsene fastsatt i nr. 2, 3 og 4 og sikrer og erklærer på eget ansvar at de aktuelle EU-gjødselvarene oppfyller kravene i denne forordningen som får anvendelse på dem.
►M1
◄M1
►M1
◄M1
Produsenten skal treffe alle nødvendige tiltak slik at produksjonsprosessen og overvåkingen av den sikrer at de produserte EU-gjødselvarene er i samsvar med den tekniske dokumentasjonen nevnt i nr. 2 og med kravene i denne forordningen som får anvendelse på dem.
Produsentens forpliktelser angitt i nr. 4 kan på dennes vegne og ansvar oppfylles av produsentens representant, forutsatt at dette er angitt i fullmakten.
MODUL A1 – INTERN PRODUKSJONSKONTROLL PLUSS OVERVÅKET PRODUKTTESTING
Intern produksjonskontroll pluss overvåket produkttesting er den framgangsmåten for samsvarsvurdering der produsenten oppfyller forpliktelsene fastsatt i nr. 2, 3, 4 og 5 og sikrer og erklærer på eget ansvar at de aktuelle EU-gjødselvarene oppfyller kravene i denne forordningen som får anvendelse på dem.
►M1
◄M1
Produsenten skal treffe alle nødvendige tiltak slik at produksjonsprosessen og overvåkingen av den sikrer at de produserte EU-gjødselvarene er i samsvar med den tekniske dokumentasjonen nevnt i nr. 2 og med kravene i denne forordningen som får anvendelse på dem.
Varmesyklusene og testene nevnt i nr. 4.1-4.4 skal utføres på en representativ prøve av EU-gjødselvaren hver tredje måned på produsentens vegne for å kontrollere samsvar med
Varmesyklusene og testene skal utføres på ansvaret til et meldt organ som produsenten har valgt.
Prøven varmes opp i en egnet lukket laboratoriekolbe fra omgivelsestemperatur til 50 °C og holdes ved denne temperaturen i to timer (fase ved 50 °C). Deretter avkjøles prøven til 25 °C og holdes ved denne temperaturen i to timer (fase ved 25 °C). Kombinasjonen av en fase ved 50 °C etterfulgt av en fase ved 25 °C utgjør en varmesyklus. Når prøven har gjennomgått to varmesykluser, holdes den ved en temperatur på 20 (± 3) °C for å bestemme oljeabsorpsjonen.
Vanlig laboratorieutstyr, særlig
En EU-gjødselvares oljeabsorpsjon er den mengden olje som EU-gjødselvaren absorberer, og som bestemmes under de angitte driftsforholdene og uttrykkes i masseprosent.
Testen skal utføres på en representativ prøve av EU-gjødselvaren. Før testen gjennomføres, skal hele prøvemassen gjennomgå to varmesykluser i samsvar med nr. 4.1.
Metoden kan brukes på både prillet og granulert gjødsel som ikke inneholder oljeløselige stoffer.
Fullstendig nedsenking av prøven i gassolje i et gitt tidsrom, deretter fjernes overskytende olje under angitte vilkår. Måling av prøvens masseøkning.
Gassolje med følgende egenskaper:
Vanlig laboratorieutstyr og
Merk: Størrelsen på trakten og sikten skal være slik at bare et fåtall granulater ligger oppå hverandre, og slik at oljen lett kan renne av.
Dersom mengden gassolje som er igjen i prøven, er større enn 2,00 g, plasseres prøven på et nytt sett med filterpapirark og rullingen gjentas ved å løfte opp sidene som beskrevet i nr. 4.2.5.4 (to ganger åtte sirkulære bevegelser, løfting en gang). Deretter omveies prøven.
Oljeabsorpsjonen for hver enkelt bestemmelse (nr. 4.2.5.1), uttrykt som masseprosent av den siktede prøven, gis ved ligningen
$$\text{Oljeabsorpsjon}=\frac{m_2-m_1}{m_1} \times 100$$
der
Prøven varmes opp i en tett beholder fra omgivelsestemperatur til 50 °C og holdes ved denne temperaturen i en time (fase ved 50 °C). Deretter avkjøles prøven til 25 °C og holdes ved denne temperaturen i en time (fase ved 25 °C). Kombinasjonen av en fase ved 50 °C etterfulgt av en fase ved 25 °C utgjør en varmesyklus. Når prøven har gjennomgått det nødvendige antallet varmesykluser, holdes den ved en temperatur på 20 (± 3) °C fram til detonerbarhetstesten er utført.
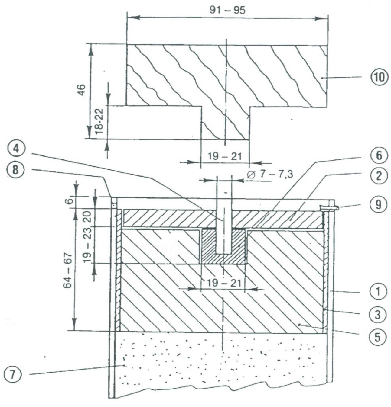
Plasser så mye gjødsel som trengs til detonerbarhetstesten, i beholderne eller posene, og lukk dem. Plasser boksene av rustfritt stål i vannbadet (metode 1) eller boksene eller posene i ovnen (metode 2). Varm opp vannet eller ovnen til 51 °C og mål temperaturen i midten av gjødselen. En time etter at temperaturen i midten har nådd 50 °C, startes avkjølingen. En time etter at temperaturen i midten har nådd 25 °C, startes oppvarmingen for neste syklus. Dersom det brukes to vannbad eller ovner, overføres beholderne eller posene til det andre badet eller den andre ovnen etter hver oppvarmings-/avkjølingsperiode.Figur 1 
MERK: Testen utføres to ganger. Testen anses som avgjørende dersom en eller flere av de understøttende blysylindrene deformeres mindre enn 5 % i begge testene.
Prøven innesluttes i et stålrør og utsettes for et detonasjonssjokk fra en eksplosiv tennladning. Detonasjonens forplantning bestemmes ut fra graden av sammentrykning av blysylindrene som røret var plassert horisontalt på under testen.
eller ethvert annet plastisk sprengstoff med lignende detonasjonsegenskaper.
Avhengig av hvilket utstyr som er tilgjengelig, kan sprengstoffet initieres i tennladningen enten
Figur 2 viser tennladningen klar til bruk.
Figur 3 viser tennladningen klar til bruk.
Når de nødvendige forholdsreglene er tatt, plasseres høyst 10 g sekundært sprengstoff (nr. 4.4.3 bokstav c)) i en form med en innvendig diameter på 19-21 mm og komprimeres til riktig form og densitet (forholdet diameter/høyde bør være tilnærmelsesvis 1:1). Midt i formens bunn er det en 12 mm høy tapp med en diameter på 7,0-7,3 mm (avhengig av diameteren på detonatoren som brukes) som danner en sylindrisk fordypning i pelleten der detonatoren skal plasseres.
Plasser sprengstoffet (nr. 4.4.3 bokstav a)) i hylsen (nr. 4.4.3 bokstav h)) som er plassert loddrett på et flatt underlag, og press deretter ned ved hjelp av et tre- eller plaststempel, slik at sprengstoffet får en sylindrisk form med en fordypning i midten. Plasser den komprimerte pelleten i fordypningen. Dekk det sylinderformede sprengstoffet som inneholder den komprimerte pelleten, med en tre- eller plastskive (nr. 4.4.3 bokstav j)) med et hull i midten med en diameter på 7,0-7,3 mm der en detonator skal plasseres. Fest tre- eller plastskiven til hylsen ved hjelp av limbånd som plasseres i kors. Kontroller at hullet i skiven og fordypningen i den komprimerte pelleten stemmer overens ved å føre inn tre- eller plastpinnen (nr. 4.4.3 bokstav k)).
I den ene enden av stålrøret (nr. 4.4.3 bokstav d)) bores det to hull diametralt overfor hverandre med en diameter på 4 mm vinkelrett gjennom rørveggen i en avstand på 4 mm fra kanten. Buttsveis bunnplaten (nr. 4.4.3 bokstav e)) til den andre enden av røret, og sørg for at den rette vinkelen mellom bunnplaten og rørveggen fylles fullstendig med sveisemetall langs hele omkretsen.
Se figur 2 og 3.
Merk: Sørg for at røret er i kontakt med alle de seks blysylindrene. Det kan kompenseres for en lett krumming av rørets overflate ved å dreie røret rundt dets lengdeakse. Dersom en av sylindrene er for høy, slås det forsiktig med en hammer til den får den høyden den skal ha.
Merk: Ved sprengningen kan stålsplinter med høy kinetisk energi bli slengt ut, og sprengningen må derfor utføres på tilstrekkelig avstand fra boliger og trafikkerte veier.
I testrapporten skal verdier for følgende parametrer angis for hver av detonerbarhetstestene:
Dersom minst én blysylinder viser en sammentrykning som er mindre enn 5 % for hver sprengning, skal den aktuelle prøven anses for å ha bestått testen og anses for å være motstandsdyktig mot detonasjoner.
Tennladning med sjupunktsinitiering
Tall i sirkler:
Produsentens forpliktelser angitt i nr. 4.4.7 og 5 kan på dennes vegne og ansvar oppfylles av produsentens representant, forutsatt at dette er angitt i fullmakten.
MODUL B – EU-TYPEPRØVING
►M1
◄M1
►M1
◄M1
Det meldte organet skal
Det meldte organet skal utarbeide en vurderingsrapport om aktivitetene som er gjennomført i samsvar med nr. 4, og resultatene av dem. Uten at det berører det meldte organets forpliktelser overfor meldermyndigheten, skal det meldte organet ikke offentliggjøre hele eller deler av innholdet i rapporten uten produsentens samtykke.
Produsentens representant kan inngi søknaden nevnt i nr. 3 og oppfylle forpliktelsene nevnt i nr. 7 og 9.2, forutsatt at dette er angitt i fullmakten.
MODUL C – TYPESAMSVAR PÅ GRUNNLAG AV INTERN PRODUKSJONSKONTROLL
Typesamsvar på grunnlag av intern produksjonskontroll er den delen av framgangsmåten for samsvarsvurdering der produsenten oppfyller forpliktelsene fastsatt i nr. 2 og 3, og sikrer og erklærer på eget ansvar at de aktuelle EU-gjødselvarene er i samsvar med typen beskrevet i EU-typeprøvingssertifikatet og oppfyller kravene i denne forordningen som får anvendelse på dem.
Produsenten skal treffe alle nødvendige tiltak for at det i produksjonsprosessen og overvåkingen av den sikres at de produserte EU-gjødselvarene er i samsvar med den godkjente typen beskrevet i EU-typeprøvingssertifikatet og med kravene i denne forordningen som får anvendelse på dem.
Produsentens forpliktelser angitt i nr. 3 kan på dennes vegne og ansvar oppfylles av produsentens representant, forutsatt at dette er angitt i fullmakten.
MODUL D1 – KVALITETSSIKRING AV PRODUKSJONSPROSESSEN
Kvalitetssikring av produksjonsprosessen er den framgangsmåten for samsvarsvurdering der produsenten oppfyller forpliktelsene fastsatt i nr. 2, 4 og 7 og sikrer og erklærer på eget ansvar at de aktuelle EU-gjødselvarene oppfyller kravene i denne forordningen som får anvendelse på dem.
►M5
◄M5
►M1
◄M1
►M3
der
Fjerningen av den farlige egenskapen under produksjonsprosessen skal skje på en slik måte at iblandingsforhol-det multiplisert med konsentrasjonen av den farlige egenskapen for hvert enkelt innsatsmateriale er lavere enn grenseverdiene fastsatt i vedlegg III til direktiv 2008/98/EF for den aktuelle farlige egenskapen.
◄M3
►M1
◄M1
Produsenten skal kunne stille den tekniske dokumentasjonen til rådighet for vedkommende nasjonale myndigheter i fem år etter at EU-gjødselvaren er brakt i omsetning.
Produsenten skal bruke et godkjent kvalitetssystem for produksjon, inspeksjon av ferdige produkter og testing av de aktuelle EU-gjødselvarene som beskrevet i nr. 5 og skal være underlagt tilsynet angitt i nr. 6.
►M5
◄M5
►M5
◄M5
►M5
◄M5
►M5
◄M5
►M5
◄M5
►M2
◄M2
(tonn)
►M5
◄M5
►M2
Produsentene kan redusere standardfrekvensen for testing av forurensende stoffer som angitt over ved å ta hensyn til for-delingen av tidligere prøver. Etter en overvåkingsperiode på minst et år og minst ti prøver som viser at kravene i vedlegg I og II er oppfylt, kan produsenten redusere standardfrekvensen for prøvetaking for den parameteren med en faktor på 2 dersom det høyeste forurensningsnivået som er registrert fra de siste ti prøvene, er lavere enn halvparten av grenseverdien for den parameteren angitt i vedlegg I og II.
◄M2
►M5
◄M5
►M2
◄M2
►M5
◄M5
►M5
◄M5
►M5
◄M5
►M5
◄M5
►M2
◄M2
Produsenten skal i fem år etter at EU-gjødselvaren er brakt i omsetning, kunne stille følgende til rådighet for nasjonale myndigheter:
Produsentens forpliktelser angitt i nr. 3, 5.2, 5.5.1, 7 og 8 kan på dennes vegne og ansvar oppfylles av produsentens representant, forutsatt at dette er angitt i fullmakten.
VEDLEGG V
EU-samsvarserklæring (nr. XXX)10
Undertegnet for og på vegne av:
(sted og dato):
(navn, stilling) (underskrift):